
Key Specifications / Features
The API 526 Spring Safety Valve from the supplier features a full lift design with a radiator, constructed from ASTM A216 WCB carbon steel. It has a nominal diameter of DN150 (6 inches) and a pressure rating of PN100/Class 600 LB, making it suitable for high-pressure applications. The valve is equipped with groove flanged ends for secure and efficient installation.
- Model No.: KV-20250804-SV-01
- Hits: 46
- Categories: Safety Valve
- Tags: ASTM A216 WCB Safety Valve, Spring-loaded Safety Valve, DN150 Safety Valve
Detail Information
Product Name: Full Lift Spring Safety Valve with Radiator
Design Standard: API 526
Body Material: Carbon Steel ASTM A216 WCB
Size: DN150, 6 Inch
Pressure: PN100, Class 600 LB
End Connection: Groove Flanged
Medium: Steam, Air
The SFA48Y series spring full-lift safety valves are designed for use on equipment and pipelines handling steam and similar media. These valves serve as overpressure protection devices and are suitable for different temperature ranges depending on the valve type: Type C is rated for temperatures up to 425°C, Type I up to 500°C, and Type V up to 550°C. Flanged connection dimensions comply with the first series of JB/T79-94 standards, or can be customized to meet customer specifications.
Technical Specification
» Product model: SFA48Y
» Normal Size Range: 1/2-12 Inch (DN15-DN300)
» Normal Pressure Rating: Class 150-600 LB (PN16-PN100)
» Design and Manufacture: GB/T 12243-1989, API RP 520, 521, API 526, API 527
» Face to face(end to end): GB/T 14087, JB/T 6441, JB/T 2203, JB/T 9624, JB/T 53170
» Flanged connection: ASME B16.5, DIN 2543-2545, EN 12627
» Test and inspection: API 598, DIN 3230, MSS SP-117
» Materials: Carbon Steel, Stainless Steel, Alloy Steel, Duplex or Other Specials
» Ends Connections: RF Flanged, Groove Flanged
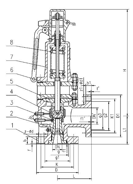
Structural Diagram
Main parts and Materials
No | Name of Parts | Carbon steel | Alloy Steel | Alloy Steel |
1 | Body | A216 WCB | 1Cr5Mo | 15Cr1Mo1V |
2 | Nozzle | 1Cr5Mo | 1Cr5Mo | 12Cr1MoVA |
3 | Adjusting Ring | 2Cr13 | SS 304 | SS 304 |
4 | Disc | 2Cr13 | 17-4PH | 17-4PH |
5 | Guide Sleeve | 2Cr13 | SS 304 | SS 304 |
6 | Radiator | ZG230-450 | ZG230-450 | ZG230-450 |
7 | Bonnet | ZG230-450 | ZG230-450 | ZG230-450 |
8 | Spring | 50CrVA | 50CrVA | 50CrVA |







