The China Full Lift Safety Valve Factory specializes in manufacturing high-quality spring-loaded safety valves with levers. These valves are designed in compliance with API 526 standards and are made from ASTM A216 WCB carbon steel, ensuring durability and strength. The valves have a size of 20 inches (DN500) and are rated for Pressure Class 150 LB and PN10, making them suitable for a wide range of industrial applications. They feature raised face (RF) flanged ends for secure and reliable connections.
Product Name: Full Lift Spring Safety Valve with Lever
Design Standard: API 526
Body Material: ASTM A216 WCB, Carbon Steel
Size: DN500, 20 Inch
Pressure: PN10, Class 150 LB
End Connection: RF Flanged
Medium: Steam, Air
The A48Y series spring-loaded full lift safety valves are designed for equipment and pipelines carrying steam, air, and similar media with operating temperatures below 350°C. The A44Y type is suitable for equipment and pipelines conveying air and petroleum gas, with working temperatures below 300°C. These valves serve as overpressure protection devices.
Technical Specification
» Product model: A48Y
» Normal Size Range: 1/2-20 Inch (DN15-DN500)
» Normal Pressure Rating: Class 150 LB (PN10, PN16)
» Design and Manufacture: GB/T 12243-1989, API RP 520, 521, API 526, API 527
» Face to face(end to end): GB/T 14087, JB/T 6441, JB/T 2203, JB/T 9624, JB/T 53170
» Flanged connection: ASME B16.5, DIN 2543-2545, EN 12627
» Test and inspection: API 598, DIN 3230, MSS SP-117
» Materials: Carbon Steel, Stainless Steel, Alloy Steel, Duplex or Other Specials
» Ends Connections: RF Flanged
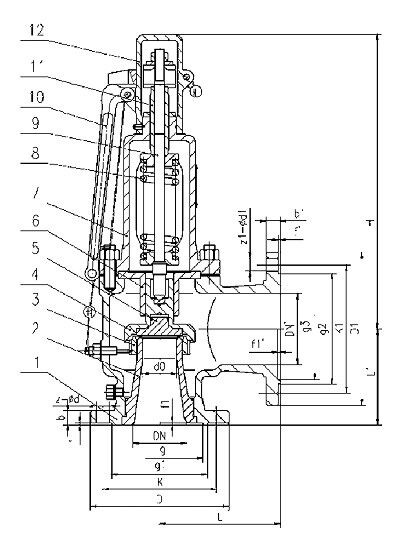
Structural Diagram

Main Parts and Materials
|
No |
Name of Parts |
Carbon steel |
Stainless steel |
Stainless steel |
|
1 |
Body |
A216 WCB |
A351 CF8 |
A351 CF8M |
|
2 |
Nozzle |
2Cr13 |
SS 304 |
SS 316 |
|
3 |
Adjusting Ring |
2Cr13 |
SS 304 |
SS 316 |
|
4 |
Disc Holder |
2Cr13 |
SS 304 |
SS 316 |
|
5 |
Disc |
2Cr13 |
SS 304 |
SS 316 |
|
6 |
Guide Sleeve |
2Cr13 |
SS 304 |
SS 316 |
|
7 |
Bonnet |
ZG230-450 |
SS 304 |
SS 316 |
|
8 |
Spring |
50CrVA |
50CrVA+Coated Teflon |
|
|
9 |
Stem |
2Cr13 |
SS 304 |
SS 316 |
|
10 |
Lever |
ZG230-450 |
SS 304 |
SS 316 |
|
11 |
Adjusting bolt |
45 |
2Cr13 |
2Cr13 |
|
12 |
Cap |
ZG230-450 |
SS 304 |
SS 316 |
|
13 |
Sealing surface |
Overlay STL |
Overlay STL |
Overlay STL |